Описание лестничной площадки ЛПФ 28.13-5
Лестничная площадка (ЛПФ 28.13-5) применяется для устройства лестничных клеток в жилых, общественных и промышленных зданиях. Изделие изготавливается компанией ГК "БЛОК", которая специализируется на производстве и поставке железобетонных изделий в Краснодаре, из высокопрочного бетона с армированием стальной арматурой, что обеспечивает её прочность, устойчивость к нагрузкам и долговечность.
Нормативный документ: Серия 1.252.1-4.
Применение лестничной площадки ЛПФ 28.13-5
Лестничная площадка ЛПФ 28.13-5 используется как элемент для строительства лестничных клеток в зданиях различного назначения. Она служит важной частью системы, обеспечивающей надёжность, безопасность и удобство эксплуатации конструкций. Для монтажа могут применяться дополнительные элементы: раствор, закладные детали и другие комплектующие.
Типы лестничных площадок
Железобетонные лестничные площадки подразделяются на несколько типов в зависимости от размеров и назначения:
- ЛП: площадка лестничная;
- ЛПФ: площадка лестничная фризовая;
- ЛПУ: площадка лестничная усиленная;
- ЛПД: площадка лестничная доборная.
Размеры зависят от типа: длина 3080–6000 мм, ширина 1290–3000 мм, высота 350–1000 мм.
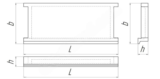
Основные параметры, размеры и характеристики
- Длина L, мм: 3080
- Ширина b, мм: 1290
- Высота h, мм: 350
- Масса, тонн: 1.2
- Объем бетона, м³: 0.48
- Геометрический объем, м³: 1.391
- Сталь, кг: 20.38
- Закладная 1: Каркас пространственный КП2
- Закладная 2: Каркас плоский КР9
- Закладная 3: Каркас плоский КР14
- Закладная 4: Сетка арматурная С13
Дополнительные характеристики
- Марка по морозостойкости: F150–F200
- Марка по водонепроницаемости: W4–W6
- Технология изготовления: вибропрессование или формование с использованием высокопрочного бетона.
Нормы загрузки
- Норма загрузки в автотранспорт 20 т, шт: 16
Расшифровка маркировки ЛПФ 28.13-5
Маркировка "ЛПФ 28.13-5" содержит следующую информацию:
- ЛПФ – площадка лестничная фризовая;
- 28 – условная длина изделия в дециметрах (3080 мм);
- 13 – условная ширина изделия в дециметрах (1290 мм);
- 5 – порядковый номер изделия в серии.
Условия транспортировки и хранения
Лестничные площадки ЛПФ 28.13-5 перевозятся автомобильным или железнодорожным транспортом с использованием специальных захватных устройств (строп). Хранение осуществляется на ровных площадках с твердым покрытием. Площадки устанавливаются горизонтально в штабель высотой не более 2,5 м. Для предотвращения повреждений между изделиями устанавливаются деревянные прокладки.
Контроль качества лестничной площадки ЛПФ 28.13-5
Каждая лестничная площадка ЛПФ 28.13-5 проходит многоступенчатый контроль качества. Проверяются:
- прочность бетона (не ниже требуемого класса);
- соответствие геометрических размеров проектным данным;
- морозостойкость и водонепроницаемость бетона;
- отсутствие трещин, сколов и других дефектов.
Заключение
Лестничная площадка ЛПФ 28.13-5 – это надежный и долговечный элемент для устройства лестничных клеток в зданиях различного назначения. Благодаря использованию качественных материалов и современных технологий производства, она обеспечивает прочность, устойчивость и долговечность конструкций. Для заказа качественных железобетонных изделий обращайтесь к профессионалам своего дела – компании ГК "БЛОК".
Смотрите также:
| Варианты написания товара |
|---|
| Лестничная площадка ЛПФ 28.13-5 |
| ЛПФ 28.13-5 лестничная площадка |
| Лестничная площадка ЛПФ28.13-5 |
| ЛПФ28.13-5 лестничная площадка |
| ЛПФ 28.13-5 |
| ЛПФ28.13-5 |
| Лестничная площадка ЛПФ 28.13-5 Серия 1.252.1-4 |
| ЛПФ 28.13-5 Серия 1.252.1-4 |
| ЛПФ28.13-5 Серия 1.252.1-4 |
|
ГОСТ/Серия
|
Серия 1.252.1-4 |
|
Длина, мм
|
3080 |
|
Ширина, мм
|
1290 |
|
Высота, мм
|
350 |
|
Масса, тонн
|
1.2 |
|
Объем бетона, куб.м
|
0.48 |
|
Геометрический объем, м.куб
|
1.391 |
|
Сталь, кг
|
20.38 |
|
Закладная 1
|
Каркас пространственный КП2 |
|
Закладная 2
|
Каркас плоский КР9 |
|
Закладная 3
|
Каркас плоский КР14 |
|
Закладная 4
|
Сетка арматурная С13 |
Как купить
Процесс покупки железобетонных изделий у нас прост и удобен. Следуйте этим шагам:
- Выбор продукции: Ознакомьтесь с нашим ассортиментом и выберите необходимые железобетонные изделия.
- Консультация: Свяжитесь с нашим менеджером для получения консультации по выбору продукции и уточнения всех деталей. Вы можете позвонить нам или написать на электронную почту.
- Оформление заказа: После согласования всех деталей оформите заказ. Менеджер поможет вам заполнить все необходимые документы.
- Согласование доставки: После оформления заказа наш менеджер свяжется с вами для согласования условий и сроков доставки.
- Оплата: Выберите удобный способ оплаты. Мы предлагаем несколько вариантов, включая безналичный расчет.
- Получение товара: После выполнения всех условий заказа, вы получите железобетонные изделия в назначенное время и по согласованному адресу. При получении подпишите акт приема-передачи.
Если у вас возникли вопросы на любом этапе покупки, не стесняйтесь обращаться к нашим менеджерам!
Оплата
Мы принимаем только безналичные платежи и работаем исключительно с юридическими лицами. Пожалуйста, ознакомьтесь с условиями оплаты ниже:
- Способ оплаты: Все расчеты производятся безналичным путем. Мы не принимаем наличные.
- Счет на оплату: После оформления заказа вам будет выставлен счет, который необходимо оплатить в срок, указанный в документе.
- Реквизиты: Все необходимые банковские реквизиты будут предоставлены в счете. Убедитесь, что все данные указаны правильно для успешного перевода.
- Подтверждение оплаты: После осуществления платежа отправьте нам подтверждение, чтобы мы могли оперативно обработать ваш заказ.
- Получение документов: После полной оплаты вы получите все необходимые документы, включая акт выполненных работ, товарные накладные и сертификаты на продукцию.
Мы работаем с НДС и предоставляем все необходимые сертификаты и документы. Все гарантии будут прописаны в договоре, что обеспечивает прозрачность и надежность сотрудничества.
Если у вас есть вопросы по поводу процесса оплаты, не стесняйтесь обращаться к нашим менеджерам за помощью!
Наша оперативность — ваше удобство. Мы гарантируем своевременную доставку железобетонных изделий, что является ключевым фактором для успешной реализации ваших строительных проектов. Доставка осуществляется прямо к вашему объекту с учетом всех стандартов качества.
Основные условия доставки:
• Выбор тарифа: Вы можете выбрать способ расчета стоимости доставки — почасовой или по зонам.
• Согласование: Менеджер свяжется с вами для уточнения деталей после оформления заказа.
• Время на погрузку: Комплектация товара занимает от 1 до 3 дней в зависимости от объема.
• Акт приема-передачи: Продукция передается по акту приема-передачи.
Тарифы на доставку:
Цены варьируются в зависимости от расстояния и региона. Все тарифы включают НДС. При неблагоприятных погодных условиях возможны небольшие изменения в стоимости.
География доставки:
Мы работаем по всей территории РФ и имеем 12 офисов и производств, чтобы обеспечить удобные условия для доставки.
Для точного расчета стоимости доставки обращайтесь к нашим менеджерам!

